德州儀器(Texas Instruments)是全球領先的半導體設計和制造公司,其產品廣泛應用于各個領域。在電源管理領域,德州儀器的LM2575T-3.3/NOPB電源芯片備受認可和廣泛應用。本文將詳細介紹這款電源芯片的特點和優勢。
.jpg)
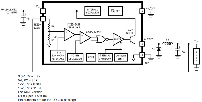
LM2575T-3.3/NOPB是一款具有固定輸出電壓的升壓/降壓切換穩壓器,其穩壓輸出電壓為3.3V。該芯片采用了先進的Buck-Boost調制方式,能夠在輸入電壓變化較大的情況下仍保持穩定的輸出電壓。此外,LM2575T-3.3/NOPB還具有過壓保護、短路保護和過載保護等多種保護功能,能夠有效保護外部電路和系統。
LM2575T-3.3/NOPB芯片采用了高效率的開關調制技術,能夠在較大負載時仍保持高效率。相比傳統線性穩壓器,該芯片的效率提高了很多,有助于降低整體系統能耗和發熱。這使得LM2575T-3.3/NOPB成為眾多電子設備設計師和制造商的首選。
特點參數
輸出電壓:3.3V
輸入電壓:4V~40V
輸出電流(最大值):1A
開關頻率:52kHz
工作溫度:-40℃~+125℃@(TJ)
輸出通道數:1
封裝:TO-220-5
應用
簡單高效降壓調節器
用于線性調節器的高效預調節器
卡上開關穩壓器
正-負轉換器(降壓-升壓)
汽車電子
消費電子
工業控制

引腳封裝

方框圖

典型應用電路圖
詢價列表 ( 件產品)
哦! 它是空的。