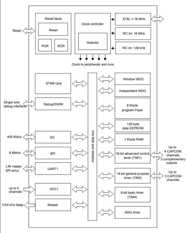
意法半導體生產的STM8S003F3U6TR值線8位微控制器提供8 KB的閃存程序存儲器,以及集成的真實數據EEPROM。在STM8S微控制器系列中被稱為低密度器件。
STM8S003F3U6TR價值線設備具有以下優點:性能、穩健性和降低系統成本。

真正的數據EEPROM支持高達100000次寫入/擦除周期,先進的核心和外圍設備采用最先進的技術以16 MHz的時鐘頻率制造,強大的I/O,具有獨立時鐘源的獨立看門狗和時鐘安全系統,確保了設備的性能和穩健性。
由于具有高系統集成水平的內部時鐘振蕩器、看門狗和褐色重置,系統成本得以降低。
參數
CPU頻率:16MHz
Flash存儲器:8KB
3RAM存儲器:1KB
4信接口:SPI、I2C、UART
5定時器:16位定時器、看門狗定時器
ADC:10位ADC,最大采樣速率為1.5Msps
作電壓范圍:2.95V-5.5V
封裝:UFQFPN-20
應用
家電:空調、洗衣機、冰箱
工業控制:PLC、工業自動化控制器、電機控制器
汽車電子:車載音響、車載導航、車載電子控制單元
安防:門禁控制器、監控攝像頭、安防報警器
方框圖

引腳

如果貴司有芯片采購需求可通過聯系客服:4008-622-911或關注我司獲取芯片產品規格書、價格或芯片樣品(樣品:終端廠家專享,需提供公司名稱)。
詢價列表 ( 件產品)
哦! 它是空的。