PIC16F1937-I/P是美國微芯科技公司生產的8位微控制器。以下是PIC16F1937-I/P的技術參數和應用市場。

技術參數
– 8位RISC架構
– 32KB閃存和2KB RAM
– 12位ADC,最大采樣速率為100ksps
– 10位DAC
– 2個比較器
– 2個PWM模塊
– 2個USART模塊
– 1個SPI模塊
– 1個I2C模塊
– 1個USB模塊
– 最大工作頻率為32MHz
應用
PIC16F1937-I/P適用于需要低功耗、低成本、高性能的應用場景,如:
– 家電控制器
– 智能電表
– 工業控制器
– 汽車電子
– 醫療設備
– 安防監控
– 消費電子等。
引腳

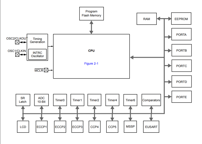
功能方框圖

詢價列表 ( 件產品)
哦! 它是空的。